院内各单位:
为维护校园正常教学、科研和生活秩序,保障师生安全与合法权益,营造清朗育人环境,根据上级关于加强校园安全管理、规范校园活动的相关要求,结合学院《校园治安管理规定》《师生集体外出活动及院内大型活动申报审批规定》(以下简称“两项规定”)要求,现就进一步规范社会活动进校园工作明确如下:
本通知适用于所有拟进入我院开展的社会活动,特别是参与人数超过500人(含)的大型社会活动(包括但不限于文体竞赛、公益活动、展览展销、商业推广、招聘宣讲、安全教育、培训考察等),均须遵循“谁引入、谁负责,谁主管、谁审批,安全第一、规范有序”的原则。
引入单位(申请方)职责:负责活动的初步筛选、合作方沟通、申报材料准备;负责活动全程的组织协调、秩序维护及人员管理;严格落实审批和备案要求,执行各项安全管理规定;承担因活动组织管理不到位引发的相应责任。
主管部门职责:负责对归口管理领域内申请进校的社会活动进行内容审核与业务指导;按规定履行审批程序,确保活动符合学院教育教学、学术规范及管理要求;监督指导活动引入单位(申请方)做好相关工作。
安全保卫处职责:负责对备案活动进行安全审核;指导、监督活动安全预案的制定与落实;根据活动情况统筹协调校园安保力量,提供必要的安全保障支持;对全院社会活动进校园的审批备案情况进行监督检查与违规查处。
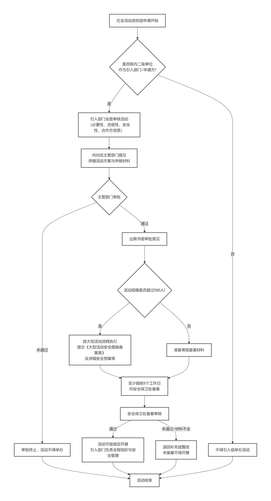
1.申请与引入:活动的引入单位(或具体申请方)须为院内部门或院系。引入单位(申请方)须对活动的必要性、合规性、安全性及合作方资质等进行全面审核与评估,并作为校园内该活动的主要责任联系单位。
2.主管部门审批:引入单位(申请方)须严格按照“两项规定”的要求,填报《社会活动进校园审批备案表》(附件2),提前向该活动内容对应的学院主管部门(如党委办公室、组织部、宣传部、人事处、学生工作处、安全保卫处、团委、工会、妇联、产学研交流合作处、公共实训管理中心、继续教育学院等)提交详细活动方案及申报材料。
主管部门须切实履行审批职责,依据学院相关规定和管理范围,对活动的主题、内容、形式、规模、场地、安全预案等进行实质性审查。审查通过后,出具明确的书面审批意见。
3.安全保卫处备案:活动经主管部门审批同意后,引入单位(申请方)须持主管部门的审批备案表及完整的活动方案,至少在活动举办前5个工作日,向学院安全保卫处进行备案登记。活动人数超过500人的,须严格按照《院师生集体外出活动及院内大型活动申报审批规定》执行,提交《院内大型活动安全措施备案表》(一式二份),并附详细活动方案、安全预案等材料。
未经批准,任何部门、团体及个人不得擅自引入或允许校外机构、人员在校园内组织开展各类社会活动。
活动实施期间,引入单位(或申请方)需安排专人负责现场组织、秩序维护和安全保障,严格按照审批方案及安全预案开展活动,及时处置突发情况,并主动配合主管部门、安全保卫处的现场监管。主管部门需履行全程监管职责,定期核查活动开展情况,确保活动严格按照审批要求实施,杜绝擅自变更活动内容、扩大活动规模、延长活动时间等违规行为。
安全保卫处将加强校园内活动现场的安全巡逻检查,对未履行审批备案程序、违规开展的活动,有权责令立即停止,并通报相关责任主体;对存在安全隐患的活动,将责令限期整改,整改不到位的严禁继续开展。
对于未按规定履行审批备案程序擅自举办活动、审批备案材料弄虚作假、活动现场组织混乱、存在重大安全隐患或造成不良影响的活动引入单位(申请方)及主管部门,学院将视情节轻重,依据相关规定予以通报批评、责令整改等处理,并追究相关单位及人员的责任。
学院将定期对社会活动进校园审批备案、实施管理等情况开展检查,对检查中发现的问题及时通报、督促整改,持续规范校园活动管理,筑牢校园安全防线。
因违规组织活动引发安全责任事故或严重损害学院声誉的,将依法依规严肃处理。
本通知所述“社会活动”指由各级党委和政府、机关企事业单位、校外机构、团体或个人发起或参与,在校内举办的面向师生或公众的各类活动。
学院各单位结合自身教育教学管理需求,自主邀请有关部门、人员到学院开展与教育教学管理相关的活动不纳入社会活动范畴,参加人员超过500人按《院师生集体外出活动及院内大型活动申报审批规定》执行。
校内各单位内部常规教学、科研、讲座、管理活动,以及校内学生社团在指导单位管理下于既定范围内开展的常规内部活动,按原有管理规定执行。
附件:1.社会活动进校园审批备案流程图
2.社会活动进校园审批备案表
湄洲湾职业技术学院
2026年3月27日
附件1
社会活动进校园审批备案流程图

附件2
社会活动进校园审批备案表
活动名称 | |||
活动类型 | 举办单位(校外) | ||
引入单位(校内) | 联系人 | ||
联系电话 | 参加人数 | ||
活动日期 | 活动时间 | ||
活动地点 | |||
活动主要内容 | |||
安全应急预案 | |||
引入单位意见 | 负责人签章: 日期: | ||
主管部门意见 | 负责人签章: 日期: | ||
安全保卫处备案 | 经办人签字: 日期: | ||
—
